
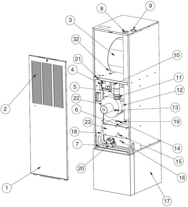
| # | DESCRIPTION | 60,000 BTUH Input |
80,000 BTUH Input |
PART # | PRICE |
| 1 | Door Assembly - Louvered (-AW & -BW Models) | 903977 | 903977 | 233110 | $205.84 |
| Door Assembly - No Louvered (BWT Models) (Not Shown) | 904049 | 904049 | - | ||
| 2 | Filter - Inside Door (-AW & -BW Models) | 669363 | 669363 | P-2022 | $ 6.62 |
| Filter - Top Return Unit (Not Shown) | 668931 | 668931 | P-2022 | $ 6.62 | |
| 3 | Blower Assembly | 904109 | 904109 | - | |
| 4 | Control Board | 903106 | 903106 | 102866 | $353.36 |
| 5 | Switch - Pressure | 632389 | 233107 | $31.15 | |
| Switch - Pressure | 626390 | - | |||
| 6 | Switch - Flame Rollout | 626498 | 626498 | - | |
| 7 | "J" Trap Hard Tube | 663908 | 663908 | - | |
| 8 | Air Intake - Combustion | 663890 | 663890 | - | |
| 9 | Exhaust Vent Assay | 663859 | 663859 | - | |
| 10 | Transformer - Low Voltage | 621486 | 621486 | 239600 | $35.41 |
| 11 | Drain Assembly - In Line | 663891 | 663891 | - | |
| 12 | Front Header Box | 669113 | 669113 | - | |
| 13 | Switch - Vent Safety | 626499 | 626499 | 233112 | $13.89 |
| 14 | Ignitor Kit | 903758 | 903758 | 233106 | $82.70 |
| 15 | Burner View Port | 632216 | 632216 | - | |
| 16 | Main Limit Switch | 626469 | - | 233065 | $13.98 |
| Main Limit Switch | - | 626482 | - | ||
| 17 | Coil Cabinet Assembly - (Optional, See Accessories) | 911969A | 911969A | - | |
| 18 | Manifold | 270754 | 270755 | - | |
| 19 | Flame Sensor | 632316 | 632316 | 102880 | $28.14 |
| 20 | Gas Valve | 624610 | 624610 | 233105 | $160.02 |
| 21 | Switch - Blower Door | 632337 | 632337 | 233056 | $ 7.33 |
| 22 | Blower - Inducer (With Gasket) | 903979 | 903979 | 233116 | $306.03 |
| 23 | Burner Box Assembly | 903980 | 903981 | - | |
| 24 | Orifice Inducer - (Not Shown) Orifice Inducer - (Not Shown) |
155314R - |
- 155315R |
233198 233199 |
$10.21 $48.14 |
| 25 | Inshot Burner - (Not Shown) | 660921 (4) | 660921 (5) | - | |
| 26 | Orifice - Nat. (Not Shown) | 661050 (4) | 661049 (5) | - | |
| 27 | Orifice - LP (Not Shown) | 661057 (4) | - | 233119 | $12.19 |
| Orifice - LP (Not Shown) | - | 661078 (5) | - | ||
| 28 | Heat Exchanger Assembly - (Not Shown) | 903982 | 903983 | - | |
| 29 | Capacitor - 10 MFD, 370V (Not Shown) | 621435 | 621435 | 102120 | $ 5.12 |
| 30 | Blower Wheel (Not Shown) | 667258 | 667258 | 230257 | $107.01 |
| 31 | Motor - 1/2 HP, 4 Speed (Not Shown) | 902128 | 902128 | 238290 | $382.98 |
| 32 | Aux. Limit - (115*F), 60T11 | 626497 | 626497 | 233124 | $52.86 |
